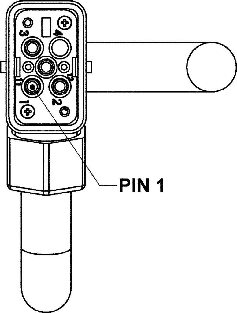
Q4/2 Buchse

Energy feed in off 4x4mm2 exc. cable

Manufacturer no.
70013820000000
power supply cable MS For demanding applications (UL-listed material) side1: open side 2: power bus-STV ISO23570-3 (4+2+PE) grommet housing angled, insert socket cable design 4x4mm², PVC sw technical data contents data sheet UPD00000500 content of copper 0,154 kg/m + cutting allow
  • Custom length? Quote in 24 h
  • Assembly & testing 100% in Germany

Description

Seite 1: offen

Seite 2: Energiebus-STV ISO23570-3 (4+2+PE),
Grommet housing angled, Buchseneinsatz
Leitungsaufbau 4x4mm2, PUR sw
Technical data of the cable: see
Datenblatt UPD00000500
Kupfergehalt 0,154 kg/Meter zuzuegl. Schnittzugabe
Leitungslaenge bitte separat angeben
Zuzuegl. Materialteuerungszuschlaege

Standardlaenge Artikel-Nr.
1,5 m 70013820000150
3,0 m 70013820000300
5,0 m 70013820000500
10,0 m 70013820001000

.
.
Order key for cable length
7xxxxxxx00XXXX
m cm
.
.
.
Used for
Devices with interfaces according to ISO 23570
z.B. Siemens ET200pro, ECOFAST, G12D